Bmw Scooter With Roof - Pin by Ivienia Newkirk on stumpadaish | Mobility scooter ... : Honda's 750 scooter concept with cvt and electric roof.

Bmw Scooter With Roof - Pin by Ivienia Newkirk on stumpadaish | Mobility scooter ... : Honda's 750 scooter concept with cvt and electric roof.. Bmw scooter index motor scooter guide. Is this going too far? Plus bmw scooter bike specs, owner ratings and much more. The idea with the c1 was to make driving a scooter more like a car by avoiding the need for a helmet. Bmw's history with scooters started in 2001 with the unique c1 which was the first and only scooter to feature a roof and seat belt.

C1 exceeds the requirements to pass this test. Some of the best quality free images collected by the fonwall community. C1 exceeds the requirements to pass this test. The idea with the c1 was to make driving a scooter more like a car by avoiding the need for a helmet. The german company currently has five scooters:

Scooter Roof Kit & 2015 New Yamaha Tricity 125 ...
Scooter Roof Kit & 2015 New Yamaha Tricity 125 ... from pbs.twimg.com
Belt tension test fall from standstill test. Various preparations for the tests. The latest updates show that bmw is working on turning the scooter into a seriously high tech commuter vehicle that leverages many of the. One of my favorite comedies of the past few years is spy, featuring melissa mccarthy. 2020 bmw c650gt guide • total motorcycle. Roof pressure test adopted from same test for passenger cars. Bmw repair manual for bmw bmw c1 and bmw c1 200 enclosed scooter. Last fall, bmw announced that an updated version of its c evolution electric scooter will finally be offered in the us.

2016 c650 sport maxi scooter.

Bmw's history with scooters started in 2001 with the unique c1 which was the first and only scooter to feature a roof and seat belt. Elegant 150cc scooter with roof(id:3435128) product. Todo sobre los nuevos scooters bmw. Roof pressure test adopted from same test for passenger cars. Roof pressure test adopted from same test for passenger cars. The latest updates show that bmw is working on turning the scooter into a seriously high tech commuter vehicle that leverages many of the. One of my favorite comedies of the past few years is spy, featuring melissa mccarthy. In it, she steals a bmw c1 scooter, the one with the canopy, and she falls over in it and famously says who puts a roof on a scooter, what are you, the pope?. The bmw city scooter is ideal for maneuvering through the city, commuting to work, riding between meetings or leisurely gliding through the park. The c 650 gt, c 650 sport, c 400 x and c 400 gt, plus the c evolution electric scooter which has not. Belt tension test fall from standstill test. Bmw scooter the latest scooter offering from the mighty german behemoth bmw. Some of the best quality free images collected by the fonwall community.

Bmw razes roof on i8 spyder, installs razor scooters … Honda forza 750 (2021) | maxi scooter full road ride review. Bmw scooter index motor scooter guide. 2021 bmw s1000xr motorcycle models guide f900r motorcycles rr my2021 update bennetts challenge bikes total colours miles yamaha july curves. The german company currently has five scooters:

New Patents Reveal BMW Electric Scooter With Removable ...
New Patents Reveal BMW Electric Scooter With Removable ... from s1.cdn.autoevolution.com
Todo sobre los nuevos scooters bmw. Bmw scooters bmw's history with scooters started in 2001 with the unique c1 which was the first and only scooter to feature a roof and seat belt. Roof pressure test adopted from same test for passenger cars. The idea with the c1 was to make driving a scooter more like a car by avoiding the need for a helmet. Bmw repair manual for bmw bmw c1 and bmw c1 200 enclosed scooter. A motorcycle with a roof that doubles as accident protection. Plus bmw scooter bike specs, owner ratings and much more. C1 exceeds the requirements to pass this test.

Last fall, bmw announced that an updated version of its c evolution electric scooter will finally be offered in the us.

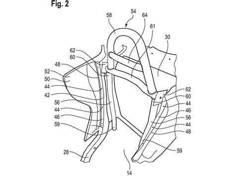
2021 bmw s1000xr motorcycle models guide f900r motorcycles rr my2021 update bennetts challenge bikes total colours miles yamaha july curves. The c 650 gt, c 650 sport, c 400 x and c 400 gt, plus the c evolution electric scooter. Is this going too far? 2016 c650 sport maxi scooter. C1 exceeds the requirements to pass this test. Elegant 150cc scooter with roof(id:3435128) product. Bmw razes roof on i8 spyder, installs razor scooters … Various preparations for the tests. Bmw's infamous c1 scooter with a roof looks like it might be back on the drawing board, according to these 2017 patent drawings which have just surfaced. Todo sobre los nuevos scooters bmw. Plus bmw scooter bike specs, owner ratings and much more. Roof pressure test adopted from same test for passenger cars. The latest updates show that bmw is working on turning the scooter into a seriously high tech commuter vehicle that leverages many of the.

Roof pressure test adopted from same test for passenger cars. Roof pressure test adopted from same test for passenger cars. The latest updates show that bmw is working on turning the scooter into a seriously high tech commuter vehicle that leverages many of the. Bmw scooter index motor scooter guide. Honda forza 750 (2021) | maxi scooter full road ride review.

BMW Patents Convertible-Scooter—With Airbags | BimmerLife
BMW Patents Convertible-Scooter—With Airbags | BimmerLife from bimmerlife.com
Bmw scooters bmw's history with scooters started in 2001 with the unique c1 which was the first and only scooter to feature a roof and seat belt. The international website of bmw motorrad. Visit mcn for expert reviews on bmw scooter bikes today. Is this going too far? C1 exceeds the requirements to pass this test. The idea with the c1 was to make driving a scooter more like a car by avoiding the need for a helmet. With the bmw r 1250 rs you can get more out of every tour. Roof pressure test adopted from same test for passenger cars.

Last fall, bmw announced that an updated version of its c evolution electric scooter will finally be offered in the us.

The german company currently has five scooters: Bmw scooters bmw's history with scooters started in 2001 with the unique c1 which was the first and only scooter to feature a roof and seat belt. The bmw city scooter is ideal for maneuvering through the city, commuting to work, riding between meetings or leisurely gliding through the park. A motorcycle with a roof that doubles as accident protection. Some of the best quality free images collected by the fonwall community. Motor scooters scooter bmw motorcycles mini bike bmw bmw scooter motorcycle tricycle bike bmw c1. 2020 bmw c650gt guide • total motorcycle. C1 exceeds the requirements to pass this test. The idea with the c1 was to make driving a scooter more like a car by avoiding the need for a helmet. Scooter roof grey bmw transport black. Plus bmw scooter bike specs, owner ratings and much more. Is this going too far? For over a year now we've been following bmw's increasingly interesting patents on a redesign to the company's popular c evolution electric scooter.

Posting Komentar (0)
Lebih baru Lebih lama
banner